鋪路機鏈適用領域:工程機械。
鏈條主要用于工程機械,鋪路機使用,鏈條為雙排鏈,在兩鏈條間裝配刮板,我們在裝配刮板的部位采用焊接工藝,并在鏈板中間沖定位孔,焊接附件用油壓機壓入鏈板后再進行焊接,增強附件的焊接牢固度,中間的刮板用中碳鋼熱處理,使刮板強度更高,更耐磨。并用平面磨床磨平刮板的兩平面,減少鏈條與設備間的間隙,通過以上這些工藝措施,鏈條的使用壽命得以大大的提高。


節 距 P (mm) | 內節內寬 b1 (mm) | 滾子直徑 d1 (mm) | 銷軸直徑 d2 (mm) | 銷軸長度 b2 (mm) | 銷軸高度 h1 (max) (mm) | 鏈板厚度 T(max) (mm) | d4 mm | f mm | h2 mm | L mm | 抗拉強度(KN) |
| 101.6 | 50.4 | 38.1 | 17.5 | 108 | 44.5 | 9.5 | 14.2 | 134.9 | 41.4 | 44.5 | 290 |
| 152.4 | 76.2 | 69.8 | 25.4 | 149 | 63.5 | 12.7 | 20.6 | 184.2 | 47.7 | 63.5 | 622.3 |
| 76.7 | 31.7 | 29 | 14.27 | 74.7 | 38.1 | 6.4 | 12 | 111.1 | 25.4 | 3175 | 155 |
| 103.2 | 55.6 | 44.45 | 22.23 | 111.8 | 66.2 | 9.5 | 17 | 136.6 | 46 | 72 | 516 |


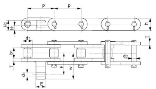
| F mm | W mm | d4 mm | E mm | H1 mm | H2 mm |
| 54.88 | 66 | 10.4 | 25.4 | 24 | 9.8 |
| 鏈 號 | 節距 P (mm) | 內節內寬 b1 (mm) | 滾子外徑 d1 (max) (mm) | 銷軸直徑d2 (mm) | 銷軸長度 L (mm) | 鏈板高度 h (mm) | 鏈板 厚度 T (mm) | 抗拉強度 Q (min.) (KN) | 許用工作載荷 (KN) |
| 66.27 | 26.99 | 22.23 | 11.1 | 66.88 | 31.4 | 7.5 | 186.7 | 16.8 |

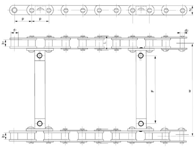
| F mm | W mm | d4 mm | R mm | H1 mm | H2 mm |
| 62.27 | 80.2 | 11 | 13.5 | 24 | 9.8 |
| 鏈號 | 節距 P (mm) | 內寬內節 b1 (mm) | 滾子外徑 d1 (max) (mm) | 銷軸直徑 d (mm) | 銷軸長度 L (mm) | 鏈板高度 h (mm) | 鏈板厚度 T (mm) | 抗拉度 Q (min) (KN) | 許用工作 載荷 (KN) |
| 69.85 | 24.8 | 31.75 | 14.27 | 71.5 | 8 | 130 | 10.4 |

鏈號 P (mm) | 節距 b1 (mm) | 滾子外徑 d1 (max) (mm) | 內板高度 h2 (mm) | 銷 軸 尺 寸 | 刮板結 構尺寸 | 抗拉強度 Q (min) (KN) | 每米重量q (kg/m) | ||
| Length L (mm) | Diameter d (mm) | W mm | F mm | ||||||
| 80 | 35 | 36 | 45 | 74.38 | 17.46 | 575 | 449 | 300 | 33 |
| 66.27 | 26 | 22.23 | 28.8 | 58.2 | 11.1 | 408 | 316 | 254 | 18 |

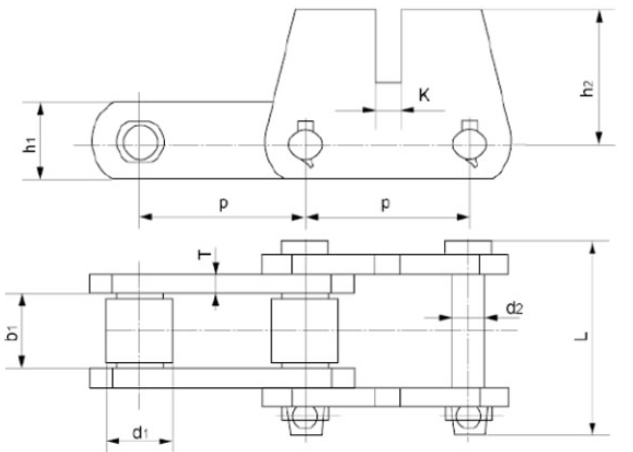
節距 P (mm) | 內節內寬 b1 (mm) | 滾子直徑 d1 (min.) (mm) | 銷軸直徑 d (mm) | 銷軸 長度 L (mm) | 鏈板高度 h1 (max) (mm) | 鏈板厚度 T (max) (mm) | 附件尺寸 | 抗拉強度Q (min) (KN) | |
| h2 (mm) | K (mm) | ||||||||
| 78.1 | 37.8 | 31.75 | 15.88 | 93.4 | 93.4 | 9.5 | 63.5 | 12.5 | 266.7 |
| 101.6 | 50.4 | 38.1 | 17.5 | 121 | 121 | 12.7 | 79.3 | 16.5 | 355.6 |
| 152.4 | 76.2 | 69.85 | 25.4 | 149 | 149 | 12.7 | 120.6 | 20.6 | 622.3 |
| 152.4 | 76.2 | 69.85 | 25.4 | 149 | 149 | 12.7 | 190.5 | 16 | 622.3 |

| 鏈 號 | T (mm) | H (mm) | H1 (mm) | L (mm) | L1 (mm) |
| 12 | 125.5 | 4.6 | 622.3 | 749.3 | |
| 12 | 127 | 6.35 | 622.3 | 762 |

| 鏈號 | 節距 P (mm) | 滾子直徑 d1 (max) (mm) | 內寬內度 b1 (min) (mm) | 銷軸直徑 d2 (max) (mm) | 銷軸長度 L (max) (mm) | 鏈板高度 h2 (max) (mm) | 鏈板 厚度 T (mm) | 抗拉強度 Q (min) (KN) | |||
| 78.1 | 31.75 | 31.4 | 15.88 | 89.2 | 38.1 | 15.88 | 265 | ||||
| 78.1 | 31.75 | 31.75 | 15.88 | 89.65 | 38 | 15.88 | 213 | ||||
橫梁與鏈條裝配尺寸
| 代 號 | D | B | |||||
| SS40SL-141-00 | 424.66 | 542.93 | |||||
| SS40SL-142-00 | |||||||
| SS40SL-143-00 | |||||||
| SS40SL-144-00 | 381.79 | 500.06 | |||||
| SS40SL-145-00 | 570.71 | 588.96 | |||||
| SS40SL-146-00 | 470.69 | 588.96 | |||||
| SS40SL-147-00 | |||||||
| SS40SL-148-00 | 424.66 | 542.93 | |||||
| SS40SL-149-00 | |||||||
| SS40SL-150-00 | |||||||


